许多学生和家长在关心学校的教育质量和学术成绩的同时,也非常关注学校的学费。根据Fox Bussiness相关调查数据,近20年来美国大学学费一直处于快速上涨的趋势。加之近年疫情原因,美国出台了几万亿的经济刺激计划,货币超发导致通货膨胀预期加剧,每年通货膨胀率上升。所以在接下来几年中,学生可能还将继续面临学费上涨的压力。
所以在选校的时候,你知道美国哪个大学性价比高吗?
日前《Money》杂志结合了美国教育部、Peterson's、PayScale的数据,统计出2022年美国大学性价比排行榜。
排名要求及标准
Money.com对739多所美国大学的性价比进行了全面的分析对比,最终根据评分占比评选出基于价值排序。
但由于疫情的影响,很多学校面临不小的财政问题,甚至不得不关闭学校。因此,为了帮助大家做出最明智的选择,《Money》根据目前的情况对做出了相应调整,要求学校:
1、至少有500名学生
2、具有充分可支撑的研究数据
3、未陷入财务危机(经营状况良好)
4、高于均值(中位数)的毕业率
而《Money》通过教育质量、可负担程度、教育产出3个方面及以下这27项指标再对其进行了筛选和评估,详情如下:

从评价标准看的出来,《Money》这份排名对于学校的评估考虑的方面十分全面,既关注学校的教育质量,也关注学生实际的投资花费、社会经济情况及毕业后的发展和收入。相比其他排名《Money》更看重学校的价值。
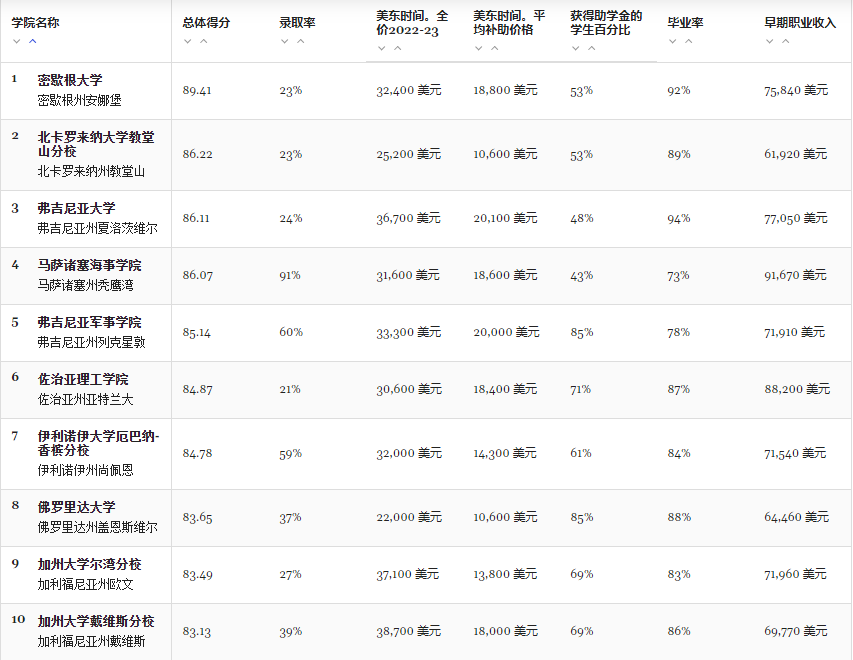
那么接下来让我们看看排名前10的大学表现:

(图源:MONEY官网)
性价比排名第1的学校是密歇根大学安娜堡分校,其次为北卡罗来纳大学教堂山分校和弗吉尼亚大学等。
在之前公布的2023年QS世界大学排名中,密歇根大学安娜堡分校位列第25位,他被誉为“公立常春藤”,是一所历史悠久的公立研究型大学。学术表现不俗,性价比又如此的高,那么如果要申请这所大学,需要满足什么条件呢?
1.申请本科的学生需要提供高中成绩单,还需要提供SAT和ACT成绩;申请研究生的学生需要提供本科学位证书,GPA3.0+,部分学院需要提供GRE/GMAT成绩;
2.语言要求:托福100分,听力和阅读部分得分 23+,口语和写作部分得分 21+,雅思7.0分,听、说、读、写部分得分6.5+。